EOI: RD-RZ large capacity radiators.
Re: EOI: RD-RZ large capacity radiators.
Pete, sounds good. I am happy to work up something if i can get some time to sit down with something to make a drawing up, but i would like input from people when a 'straw man' has been done as i would not like to bear the whole responsibility for an order if there was some issue that would mean it wouldnt work for everyone except me etc.
The comms thing is defo helpful by the way, Ive dealt with the Chinese before and often they tend to do what they want rather then what is spec'd if you are not very careful indeed and speaking the ligo absolutely helps.
Import duty only applies on orders over $1k, so depending on the number we should be able to avoid import and brokerage costs if we did says less than 10 units and ship with the suppliers usual channels, even better if they would ship direct though as there are no on costs for shipping that way, although i am happy to collect units from yourself for those in the north side of Sydney/C.Coast/Hunter for pickups from me later as needed of course.
I would think we could make this work quite simply between us and if the quality is good and the price is low it could be a winner.
How many would want a bigger LC rad then?
(I am looking for 1000-1100ml for my 421, but maybe not everyone wants that?)
DOC03 - 2
JonW - 1
LB - 1
Anyone else?
The comms thing is defo helpful by the way, Ive dealt with the Chinese before and often they tend to do what they want rather then what is spec'd if you are not very careful indeed and speaking the ligo absolutely helps.
Import duty only applies on orders over $1k, so depending on the number we should be able to avoid import and brokerage costs if we did says less than 10 units and ship with the suppliers usual channels, even better if they would ship direct though as there are no on costs for shipping that way, although i am happy to collect units from yourself for those in the north side of Sydney/C.Coast/Hunter for pickups from me later as needed of course.
I would think we could make this work quite simply between us and if the quality is good and the price is low it could be a winner.
How many would want a bigger LC rad then?
(I am looking for 1000-1100ml for my 421, but maybe not everyone wants that?)
DOC03 - 2
JonW - 1
LB - 1
Anyone else?
-
2TInstitute
- Master Stroker

- Posts: 693
- Joined: Mon Sep 14, 2009 10:32 am
Re: EOI: RD-RZ large capacity radiators.
I have the RS 125 radiator.
LB you do get what you pay for but PWR would have do a lot of convincing their rad is 4 times better. In the end all you want is something to keep the water temp around 65deg.
If they could ship them out from China to our door would be helpful but I'm thinking that will be a bit hard, so keeping the order number down to 5 would be the go. If after this anyone wants one they can deal with the factory direct.
LB you do get what you pay for but PWR would have do a lot of convincing their rad is 4 times better. In the end all you want is something to keep the water temp around 65deg.
If they could ship them out from China to our door would be helpful but I'm thinking that will be a bit hard, so keeping the order number down to 5 would be the go. If after this anyone wants one they can deal with the factory direct.
Re: EOI: RD-RZ large capacity radiators.
Hey Im just an Aussie looking out for our Aussie dollar lol.....
Yep I hear you guys & it is a great deal,but thought someone had to say it.
But Lozza,if your happy with the quality then thats cool with me,say no more.
Ok that said,lets move on.Jon has Oiler gotten back to you regarding his troubles with an inlet pipe location?Needed to be moved 10mm or so,I'll email him again for his input.
I know you guys are talking RD rads here,but is anyone after a RZ one as well?As I'd really like one of each......
Im afraid I cant do much more to help with this,shipping etc.Unless someone wants a couple hundred tons of coal delivered lol.....
Yep I hear you guys & it is a great deal,but thought someone had to say it.
But Lozza,if your happy with the quality then thats cool with me,say no more.
Ok that said,lets move on.Jon has Oiler gotten back to you regarding his troubles with an inlet pipe location?Needed to be moved 10mm or so,I'll email him again for his input.
I know you guys are talking RD rads here,but is anyone after a RZ one as well?As I'd really like one of each......
Im afraid I cant do much more to help with this,shipping etc.Unless someone wants a couple hundred tons of coal delivered lol.....
Re: EOI: RD-RZ large capacity radiators.
...
Last edited by bobbyd on Fri Aug 09, 2013 1:04 am, edited 1 time in total.
-
DOC03
Re: EOI: RD-RZ large capacity radiators.
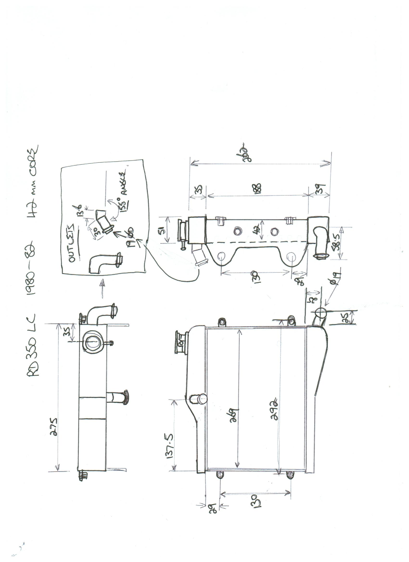
OK, well heres my first attemp at doing a drawing for the RD.
This is what the RDLC comes out like, sorry for the poor quality, but its a start.
let me know how you want to adjust it and measurements etc, and ill try and make changes unless anyone else has a CAD program or something and want to have a crack.
If this is OK Ill do the current RZ rad so you can compare and then make our own version ?
This is what the RDLC comes out like, sorry for the poor quality, but its a start.
let me know how you want to adjust it and measurements etc, and ill try and make changes unless anyone else has a CAD program or something and want to have a crack.
If this is OK Ill do the current RZ rad so you can compare and then make our own version ?
- Attachments
-
- rdlc spec.jpg
- RDLC Rad Drawing
- (166.36 KiB) Downloaded 61 times
-
DOC03
Re: EOI: RD-RZ large capacity radiators.
Perhaps everyone could PM me there email addresses and then I can send emails with drawings specs etc ?? as attachments
Re: EOI: RD-RZ large capacity radiators.
Hey Alex,
Hope your dad is going to be fine mate.Wish him a speedy recovery!
Hope your dad is going to be fine mate.Wish him a speedy recovery!
Re: EOI: RD-RZ large capacity radiators.
Sorry to hear about yer dad Alex, (oh and cheers for your delivery of my cigars btw).
Pete you should have my email addy from the other week, ive been meaning to email you actually as i hadnt heard from you re that convo.
Anyway, love the diagram Pete, very cool. will have a gander at my figures and get smads to measure up his rad for me as he has about 1,5l of coolant in it.
Pete you should have my email addy from the other week, ive been meaning to email you actually as i hadnt heard from you re that convo.
Anyway, love the diagram Pete, very cool. will have a gander at my figures and get smads to measure up his rad for me as he has about 1,5l of coolant in it.
-
2TInstitute
- Master Stroker

- Posts: 693
- Joined: Mon Sep 14, 2009 10:32 am
Re: EOI: RD-RZ large capacity radiators.
Hope your Dad is getting better Alex
-
2TInstitute
- Master Stroker

- Posts: 693
- Joined: Mon Sep 14, 2009 10:32 am
Re: EOI: RD-RZ large capacity radiators.
Pete,
Try these Chinese don't like 'mud maps'
http://www.support.scan2cad.com/tuition-videos/
http://www.img2cad.com/
If not email it to me and I'll run it through my convertor
Try these Chinese don't like 'mud maps'
http://www.support.scan2cad.com/tuition-videos/
http://www.img2cad.com/
If not email it to me and I'll run it through my convertor
Re: EOI: RD-RZ large capacity radiators.
...
Last edited by bobbyd on Fri Aug 09, 2013 1:04 am, edited 1 time in total.
-
DOC03
Re: EOI: RD-RZ large capacity radiators.
Jeez Alex, that would be tough ! Good to have some great memories to draw on though. Hope things will improve in the future.
Lozza, ill have a crack and see what I can do today.
Lozza, ill have a crack and see what I can do today.
-
DOC03
Re: EOI: RD-RZ large capacity radiators.
OK, so here is the RZ version, done in Illustrator and I have output file into CAD and AI files for checking and they work.
Next Ill re-do the RD.
Next Ill re-do the RD.
- Attachments
-
- RZ Rad
- yamaha rz350 radiator 26mm.jpg (56.75 KiB) Viewed 4032 times
-
DOC03
Re: EOI: RD-RZ large capacity radiators.
And heres an updated RD version
- Attachments
-
- RD
- yamaha rd350lc 1981 42mm rad.jpg (52.61 KiB) Viewed 4031 times
-
DOC03
Re: EOI: RD-RZ large capacity radiators.
OK, so now all I need is input in regard to changes to make / measurements etc, and ill try and draw up our "OWN" version.
One thought is that perhaps we could make a base plate / bracket with multiple mounting points so thereby providing a universal style fitment for either type of frame eg RZ / RD.
Perhaps this could also incorparate an area for fitting a fan / fans aka the R6 set up on some others hybrids etc.
This way perhaps you could get one style of Rad made that covers all the bases for connections etc, but allows fitting to diff style frames ?
Anyway, let me know what you think and ill see if we can draw it up.
One thought is that perhaps we could make a base plate / bracket with multiple mounting points so thereby providing a universal style fitment for either type of frame eg RZ / RD.
Perhaps this could also incorparate an area for fitting a fan / fans aka the R6 set up on some others hybrids etc.
This way perhaps you could get one style of Rad made that covers all the bases for connections etc, but allows fitting to diff style frames ?
Anyway, let me know what you think and ill see if we can draw it up.

